2°C to 400°C Platinum RTD Signal Conditioner with Curvature Correction from 5.6V to 10V Supply
详情介绍
概览
设计资源
驱动/参考代码
Software such as C code and/or FPGA code, used to communicate with component's digital interface.
优势和特点
- 自动校准技术
- 失调电压小于1mV
- 常见工业电压输出电平
电路功能与优势
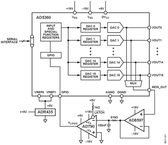
本文所述电路如图1所示,可提供一种消除不确定失调误差的校准方法。在工业过程控制和仪器仪表应用中使用高精度、高分辨率DAC时,低失调通常是一个关键特性。该电路利用
AD5360的内置特性,并配合外部比较器和运算放大器,确定DAC输出电压是高于还是低于接地参考信号。当失调量已知时,用户可以调整发送至DAC的代码来消除失调。
电路描述
AD5360是一款16通道、16位数模转换器。采用5 V基准电压源时,标称输出范围为±10 V。AD5360内置两个偏移DAC。各偏移DAC均与一组(8个)DAC相连,用来调整输出范围的中间电平点。例如,可通过设置偏移DAC将输出范围从±10 V变为−8 V至+12 V,或应用要求的其它值。
AD5360经过工厂调整,具有极低失调。执行工厂调整时,偏移DAC的值为默认值,而且已经有效消除其所引起的失调误差。但是,当偏移DAC的值变为非默认值时,其失调误差会影响主DAC的失调误差。
本文所述电路可以测量并通过校准消除这些情况下主DAC的失调误差。该电路需用一个通用I/O引脚和一个片内监控多路复用器。GPIO(通用I/O)引脚设置为输入;通过读取GPIO内部寄存器,可以确定GPIO引脚的逻辑状态。模拟多路复用器是可编程的,可将16路DAC输出中的任一输出与单一引脚(MON_OUT)相连。多路复用器具有低而有限的导通电阻R ON ,因此从MON_OUT汲取的任何电流均会在R ON 上产生压降,从而引起输出误差。为了避免这种现象,需用一个低噪声放大器 AD8597来缓冲MON_OUT。该放大器后接低通滤波器,可降低高速精密比较器 AD790 所接受的噪声量,以免发生误触发。
AD790可以采用±15 V电源供电,从而与AD5360兼容。采用±15 V电源供电时,AD790还需要一个额外的+5 VV LOGIC电源。此外,AD790的最大差分输入电压为15 V;因此,它能够耐受AD5360的输出电压,而无需衰减。图1中,如果通道失调为正,则比较器输出为低电平,表示必须降低输出电压以消除失调。
如果通道失调为负,则比较器输出为高电平,表示必须提高输出电压以消除失调。为校准DAC,DAC通道需载入数字值,该值应恰好提供与SIGGND相等的电压(即0 V)。本例中,假设DAC通道具有负失调。读取GPIO寄存器显示,比较器输出为低电平,表示输入必须递增,直到输出反转为止。随着写入DAC输入寄存器的代码逐步增大,读取GPIO寄存器,直到比较器输出跳变为高电平。AD790的最大迟滞带为0.65 mV;因此,再次减小DAC码可以更精确地确定DAC失调。
当比较器输出重新跳变为低电平时,SIGGND位于这两个码之间的某个位置。由于电路所用器件存在误差,比较器跳变点之间通常有三四个码的跨度。用这种方法无法准确确定哪个码可提供最低失调输出,但是,如果选取的码为两个跳变点码的平均值,则相对于SIGGND的DAC通道失调一般小于1 mV。
为了使本文所讨论的电路达到理想的性能,必须采用出色的布局、接地和去耦技术(请参考教程MT-031和教程MT-101)。至少应采用四层PCB:一层为接地层,一层为电源层,另两层为信号层。
AD5360经过工厂调整,具有极低失调。执行工厂调整时,偏移DAC的值为默认值,而且已经有效消除其所引起的失调误差。但是,当偏移DAC的值变为非默认值时,其失调误差会影响主DAC的失调误差。
本文所述电路可以测量并通过校准消除这些情况下主DAC的失调误差。该电路需用一个通用I/O引脚和一个片内监控多路复用器。GPIO(通用I/O)引脚设置为输入;通过读取GPIO内部寄存器,可以确定GPIO引脚的逻辑状态。模拟多路复用器是可编程的,可将16路DAC输出中的任一输出与单一引脚(MON_OUT)相连。多路复用器具有低而有限的导通电阻R ON ,因此从MON_OUT汲取的任何电流均会在R ON 上产生压降,从而引起输出误差。为了避免这种现象,需用一个低噪声放大器 AD8597来缓冲MON_OUT。该放大器后接低通滤波器,可降低高速精密比较器 AD790 所接受的噪声量,以免发生误触发。
AD790可以采用±15 V电源供电,从而与AD5360兼容。采用±15 V电源供电时,AD790还需要一个额外的+5 VV LOGIC电源。此外,AD790的最大差分输入电压为15 V;因此,它能够耐受AD5360的输出电压,而无需衰减。图1中,如果通道失调为正,则比较器输出为低电平,表示必须降低输出电压以消除失调。
如果通道失调为负,则比较器输出为高电平,表示必须提高输出电压以消除失调。为校准DAC,DAC通道需载入数字值,该值应恰好提供与SIGGND相等的电压(即0 V)。本例中,假设DAC通道具有负失调。读取GPIO寄存器显示,比较器输出为低电平,表示输入必须递增,直到输出反转为止。随着写入DAC输入寄存器的代码逐步增大,读取GPIO寄存器,直到比较器输出跳变为高电平。AD790的最大迟滞带为0.65 mV;因此,再次减小DAC码可以更精确地确定DAC失调。
当比较器输出重新跳变为低电平时,SIGGND位于这两个码之间的某个位置。由于电路所用器件存在误差,比较器跳变点之间通常有三四个码的跨度。用这种方法无法准确确定哪个码可提供最低失调输出,但是,如果选取的码为两个跳变点码的平均值,则相对于SIGGND的DAC通道失调一般小于1 mV。
为了使本文所讨论的电路达到理想的性能,必须采用出色的布局、接地和去耦技术(请参考教程MT-031和教程MT-101)。至少应采用四层PCB:一层为接地层,一层为电源层,另两层为信号层。
常见变化
AD5362是AD5360的8通道版本。AD5361和AD5363分别是AD5360和AD5362的14位版本。AD8599是AD8597的双通道版本。
本文所述电路可以使用上述任一款AD536x器件。需要时,也可以改用其它基准电压源以提供不同的输出范围。
本文所述电路可以使用上述任一款AD536x器件。需要时,也可以改用其它基准电压源以提供不同的输出范围。


