LTC4002 双电池 8.4V、2A 锂离子电池充电器
详情介绍
概览
设计资源
评估硬件
产品型号带"Z"表示符合RoHS标准。评估此电路需要下列选中的电路板
- EVAL-CN0304-SDZ ($79.00) Low Power DDS Waveform Generator
- EVAL-SDP-CB1Z ($99.00) Eval Control Board
驱动/参考代码
Software such as C code and/or FPGA code, used to communicate with component's digital interface.
优势和特点
- 75MHz低功耗DDS
- 高达18MHz输出
- 七阶椭圆滤波器
电路功能与优势
图1所示电路为一款75 MHz低功耗(合计25 mW)直接数字频率合成(DDS)波形发生器。输出缓冲器和抗镜像滤波器提供更好的频谱性能,适合要求最高18 MHz的正弦波、三角波和方波输出的频率生成或时钟应用。
由于低功耗DDS器件属于采样数据器件,因此,其后必须采用合适的抗镜像滤波器以消除频谱镜像。然而,在建议的200 Ω负载下,最大电流输出大约为4 mA;因此,在DDS输出端设置一个优化的低功耗、低失真运算放大器缓冲器,可以为高品质50 Ω滤波器提供低阻抗驱动源。
DDS、输出缓冲器和七阶椭圆低通滤波器的组合可带来高品质的频谱性能。

图1. 低功耗波形发生器(原理示意图: 未显示所有连接和去耦)
电路描述
AD9834是一款75 MHz完整的低功耗(20 mW) DDS,旨在提供最高4 mA的真正的互补电流输出,输出频率最高为37.5 MHz。
AD8014是一款高速电流反馈放大器,频率为400 MHz,带宽为−3 dB,压摆率为4000 V/μs,建立时间为24 ns。该器件具有超低电压噪声和电流噪声、低失真等特点。低功耗(5.2 mW @ +4.5 V)、低成本和30 mA电流驱动能力,这使得AD8014成为AD9834输出的一种颇具吸引力的缓冲器解决方案。对于AD9834,电路工作电压为+3.3 V,AD8014为+4.5 V。DDS采用SPI接口。该电路由三个模块组成:DDS模块、缓冲器模块和低通滤波器模块。电路总功耗约为25 mW。
DDS电压输出
满量程调整(FSADJUST)电压和外部电阻 RSET决定满量程DAC电流的幅度。FSADJUST的标称值为1.15 V, RSET 电阻的典型值为6.8 kΩ。
AD9834的满量程电流如下:
该电路采用200 Ω的额定负载和最大满量程电流,以实现所需电压输出而不超过DAC的顺从范围。
V OUT = 3 mA × 200 Ω = 0.6 V
板载两个电流输出:IOUT和IOUTB。IOUT未经滤波,IOUTB经过滤波。
缓冲放大器
由于DDS输出端的电流和电压顺从范围有限,因而需要一个缓冲器向低通滤波器提供较高的电流驱动能力。另外,缓冲器提供了DDS模块与滤波器模块之间的隔离,并将载入的DDS的200 Ω输出阻抗转换成驱动端接滤波器所需的50 Ω。在本电路笔记中,低功耗高性能电流反馈运算放大器AD8014用作AD9834的输出缓冲器。其输出驱动电流大于等于30 mA。AD8014电流反馈运算放大器中的反馈电阻设定运算放大器的带宽。AD8014是一种高速电流反馈放大器,频率为400 MHz,带宽为−3 dB,压摆率为4000 V/μs,建立时间为24 ns。
图2所示为510 Ω的反馈电阻。由于运算放大器采用单极性电源供电,因此,输出需要以电源电压中间值为中心,以防止发生削波。A点处的分压器为正弦信号提供2.25 V的直流失调电压,得到2.25 V ± 0.3 V的输出摆幅。有关单电源应用中运算放大器的正确偏置问题,请参阅 应用笔记AN-581“单电源应用中的偏置和去耦运算放大器”。有关电流反馈放大器的更多信息,请参阅 指南MT-034,电流反馈(CFB)运算放大器。

图2. AD8014输入和反馈连接
七阶椭圆低通滤波器
抗镜像重构必须对采样系统内在的镜像频率进行衰减处理,如图1所示。
有四种基本滤波器可以用作重构滤波器:考尔(椭圆)、切比雪夫、巴特沃兹和贝塞尔。图3展示了这四种基本滤波器的响应曲线。

图3. 四种基本滤波器的响应曲线
在阶数相同的情况下,椭圆滤波器的滚降率比其他三种滤波器高,这使其成为重构滤波器的不错选择。本电路笔记中使用的滤波器是一款7阶椭圆滤波器,−3 dB带宽为18 MHz。
器件选择
用于实现滤波器的电阻、电容和电感均为无源器件,并且受高频影响,都必须符合以下要求:
- 低寄生电容和电感。
- 低容差值,以使实测响应接近设计响应。
- 宽温度范围。
- 小尺寸,以最大限度减少寄生电容和电感。
这些只是确保实测滤波器响应接近仿真滤波器响应的一些标准。
有关如何针对具体应用选择无源器件的更多信息,请参阅基本线性设计:第10章“无源器件”。
滤波器设计与性能
七阶椭圆滤波器如图4所示,滤波器的仿真和实际频率响应如图5所示。使用的软件是Advances Design System (ADS),版本为2012.08。实际滤波器件和制造商可在CN0304设计支持包中的物料清单中找到: http://www.analog.com/CN0304-DesignSupport。

图4. 七阶并联连接低通滤波器

图5. 七阶椭圆滤波器的仿真和实测频率响应
实测滤波器响应是用Agilent E5061B网络分析仪得到的。结果显示,−3 dB带宽为18 MHz。受源和负载端接影响,通带衰减约为6 dB。
为了检查电路的性能,DDS性能测试时,将AD9834的输出频率设为15 MHz,时钟为75 MSPS。未滤波输出和滤波输出分别如图6和图7所示。
如图7所示,图6未滤波频谱中出现的干扰镜像显著减少。相对于未滤波输出,60 MHz下的最高镜像杂散被抑制了大约52 dB。这相当于滤波器在60 MHz下的实测衰减。

图6. AD9834的未滤波输出(15 MHz,在IOUT下测得)

图7. AD9834的滤波输出(15 MHz,在IOUTB下测得)
滤波器使AD9834 的600 mV p-p输出衰减约6 dB,正弦x/x滚降使其再衰减1 dB。因此,进入50 Ω负载的输出约为268 mV p-p,或94.7 mV rms。这相当于0.179 mW或−7.5 dBm。
有关DDS重构滤波器设计的更多信息,请参阅 应用笔记AN-837,基于DDS的时钟抖动性能与DAC重构滤波器性能的关系。
本电路必须构建在具有较大面积接地层的多层电路板上。为实现最佳性能,必须采用适当的布局、接地和去耦技术 (请参考 指南MT-031,实现数据转换器的接地并解开“AGND”和“DGND”的谜团 以及 指南MT-101,去耦技术)。
包括原理图、电路板布局和物料清单在内的完整设计支持包可在以下网址找到:http://www.analog.com/CN0304-DesignSupport。
常见变化
DDS的一种替代方案是AD9838。该器件具有功耗低的特点(11 mW),功能与AD9834相同,但时钟速率较低,为16 MHz。
本电路笔记中使用的缓冲器是电流反馈放大器AD8014。这种方案的一种替代方案是ADA4860-1。该器件是一款低成本、高速(800 MHz,−3 dB带宽)、低功耗(22.5 mW @ 5 V)电流反馈运算放大器,但其压摆率较低,为790 V/μs。
另一种替代方案是ADA4897-1。这是一款单位增益稳定、低宽带噪声、轨到轨输出高速电压反馈放大器,其输入电压噪声为2.4 nV/√Hz(10 Hz),无杂散动态范围(SFDR)为−80 dBc(2 MHz)。
ADA4851-1也可用作缓冲器。这是一款低成本、低功耗、高速(−3 dB带宽:130 MHz)器件,但其压摆率要低得多,为375 V/μs。
电路评估与测试
- EVAL-CN0304-SDZ 评估板
- EVAL-SDP-CB1Z 评估板
- AD9834 评估软件
- Agilent E3631A三路输出直流电源(或等效设备)
- Rohde和Schwarz FSUP50信号源分析仪
- Agilent E5061B网络分析仪(仅在评估滤波器响应时需要)
滤波器响应测量
用一台网络分析仪测量滤波器的频率响应,所用设置如图8所示。

图8.用于测量滤波器响应的测试设置
对EVAL-CN0304-SDZ评估板进行了改装,将来自网络分析仪的信号施加到滤波器的输入端。滤波器的输出连接至分析仪的第二个端口上。

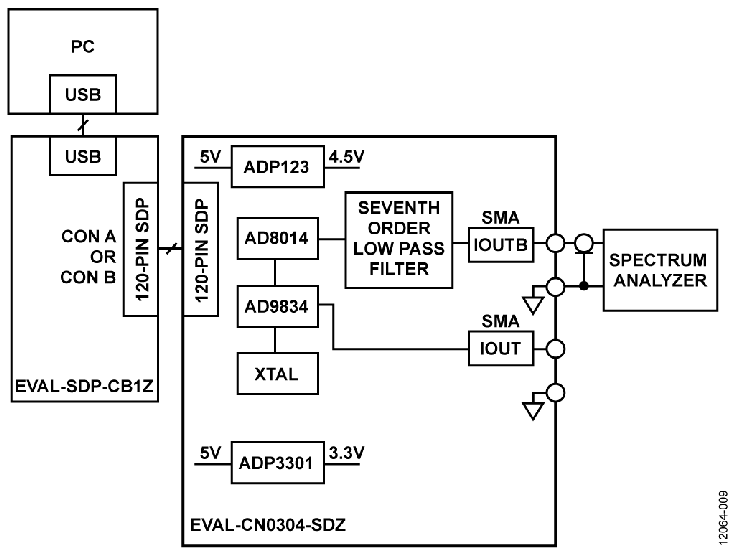
图9. DDS输出的测试系统功能框图
EVAL-CN0304-SDZ的5 V电源来自SDP卡的5 V USB电压。按照如下方式设置跳线:LK1位于B位,LK2位于B位,移除LK3。
用AD9834评估软件(位于:ftp://ftp.analog.com/pub/evalcd/AD9834/)设置DDS的输出频率和幅度。详见 AD9834评估板用户指南UG-266。UG-266中描述的硬件并没有7阶输出滤波器;但图形用户界面和软件运行情况与EVAL-CN0304-SDZ硬件完全相同。
CN0304印刷电路板照片如图10所示。

图10.EVAL-CN0304-SDZ评估板的照片
讨论
- 加入我的myAnalog 登录 myAnalog